采用轴配流镶柱定转子设计;
采用进口轴密封圈,具有高背压承受能力
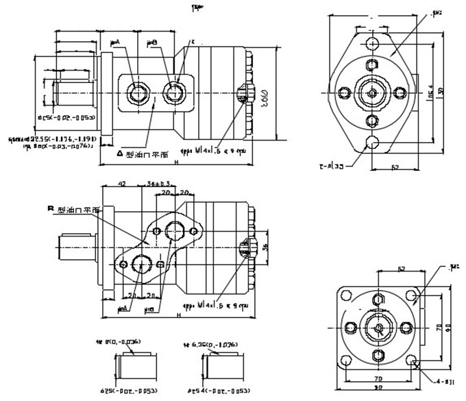
多种法兰.输出轴.油口等连接形式
体积小,结构紧凑
最大工作压力指入口最大允许压力,额定工作压力指工作压差;
不应同时在最大转速和最大压力下使用马达,最大工作条件允许持续的时间为6秒
推荐用油: 抗磨液压油,粘度37~73cst,油液清洁度ISO18/13, 最高工作油温80°C
该系列马达采用特殊的进口轴密封组件,马达允许的最大背压可达 10 MPa ,但为获得良好的寿命及综合机械性能,推荐使用背压不要超过 5 MPa,超过时建议接外泄油管,接外泄管时,应保证马达内总能充满油,外泄管路应有一定的节流保持3.5bar以上的背压,接外泄油管除可以保持较低的背压外,还可以使马达内产生的磨损污染带走,并可产生一定的冷却作用。
面向输出轴端,当A口进油时顺时针转
Add:中国-济宁-国家高新技术产业开发区山博路8号
Tel:400-086-1276
E-Mail:service#wolwa.cn(将#换成@)

官方微信二维码
Copyright Right © 2005 www.wolwa.cn Powered By 沃尔华集团有限公司 鲁ICP备10206551号